Stel je voor dat je voor de tiende keer tegenover een baas staat, om vervolgens te zien hoe een digitale “geest” van jezelf de controle overneemt en de klus klopt. Sony heeft zojuist een radicale nieuwe AI-technologie gepatenteerd die de manier waarop we met frustratie omgaan zou kunnen veranderen.

Sony’s nieuwste patent, dat begin 2026 opnieuw opdook, beschrijft een systeem genaamd “Ghost Assistance”. Dit is echter niet zomaar een simpele teksthint of een lichtgevend spoor op de grond.
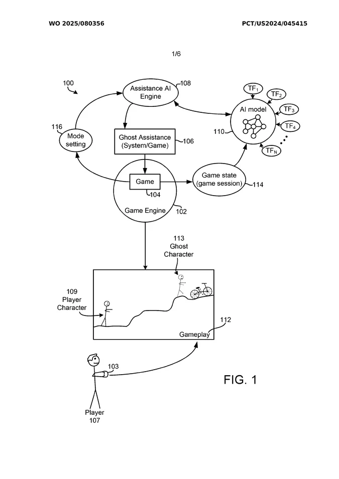
Zoals beschreven door VGC, beschrijft het patent hoe je, in plaats van het spel af te sluiten, binnenkort een AI-assistent of “Ghost Player” zou kunnen oproepen die precies leert hoe jij speelt.
👉 LEES OOK: PS6-lekken: alles wat we weten over de next-gen console
Sony AI Gaming Ghost: Nooit meer vastlopen?
De technologie maakt gebruik van een AI-assistentie-engine die is getraind op duizenden uren aan gameplay-beelden van de community. Het creëert een “Ghost”-personage dat in je live-sessie verschijnt om precies te laten zien hoe je een specifieke hindernis overwint.
Of je nu vastzit bij een complexe puzzel in Uncharted of een baas die perfecte timing vereist in Elden Ring, de AI analyseert je huidige gamestatus en biedt een oplossing op maat.
PlayStation AI vs. Autonomie van de Speler
Het patent beschrijft twee primaire modi: Guide Mode en Complete Mode.
In Guide Mode fungeert de geest als een coach, die de nodige acties uitvoert terwijl jij meekijkt, om daarna de controller weer aan jou over te dragen. Complete Mode gaat nog een stap verder, waarbij de AI de volledige controle overneemt en het segment volledig voor je uitspeelt.
Dit roept een enorme vraag op. Doodt dit de voldoening van het winnen? Het overwinnen van een uitdaging is een kernonderdeel van de “ziel” van gaming.
Als een AI de moeilijke gedeelten kan overslaan, kan de waarde van bepaalde Trophies of het prestige van het uitspelen van een moeilijke titel vervagen. Voor spelers met weinig tijd of toegankelijkheidsbehoeften is het echter een potentiële game-changer.
Sony hint ook dat deze AI conversationeel zou kunnen zijn, waarbij natuurlijke taal wordt gebruikt om uit te leggen waarom het bepaalde keuzes maakt. Het is een evolutie van de “Game Help”-kaarten van de PS5, die verschuift van statische video’s naar een actieve, lerende partner.
Is Sony AI Gaming Ghost de moeite waard?
Indien geïmplementeerd, is dit een enorme overwinning voor toegankelijkheid. Je hoeft niet meer naar YouTube te gaan voor een gids, waardoor je in de gamewereld blijft. Maar voor de puristen voelt het als een “skip-knop”.
Denk je dat een AI die de controller overneemt een handig hulpmiddel is, of is het de dood van de uitdaging?
Download de Allkeyshop Browser Extension Free
Voor het laatste video game nieuws, trailers en de beste aanbiedingen, voeg ons toe aan je favorieten.
U kunt de beste en goedkoopste online aanbiedingen vinden van CD-Sleutels, spel codes, cadeaubonnen, en antivirus software van geverifieerde verkopers op onze winkelpagina's vinden.
Om geen nieuws van Allkeyshop te missen, abonneer op
Google Nieuws
.
Sony Kondigt R-Rated Bloodborne Animatiefilm Aan